
1.应用场景
CNE-1001-FL专为准确无误地将编正交码器输出信号分配到多个目标单元而设计。在很多转速控制系统中,除了需要接入编码器信号做闭环控制外,PLC控制系统也需要接入编码器信号以提供不同的控制策略。CNE-1001-FL就为这种应用场合设计。典型的应用场景如:冶金行业中轧钢,棒材,线材,型钢,炼钢等环节的变频调速和直流调速系统。
2.简介
CNE-1001-FL可以在TTL/RS422电平信号和HTL (10-30V) 电平信号之间充当转换器。CNE-1001-FL可以提供两路HTL (10-30V)输出并可以为编码器供电。CNE-1001-FL可以只使用A+、B+、Z+三相,而不连接A-、B-、Z-,但在这样的应用中,输入信号电平必须高达15V。输出HTL信号A+、A-、B+、B-、Z+、Z-的输出电平取决于供电电压,可以在10-30V范围内变化。即使输入信号不提供反相电平,输出也可以提供全部的A+、A-、B+、B-、Z+、Z-。通过跳线,两路输出信号可以单独被设置成5V或10-30V电平。
3.主要技术参数

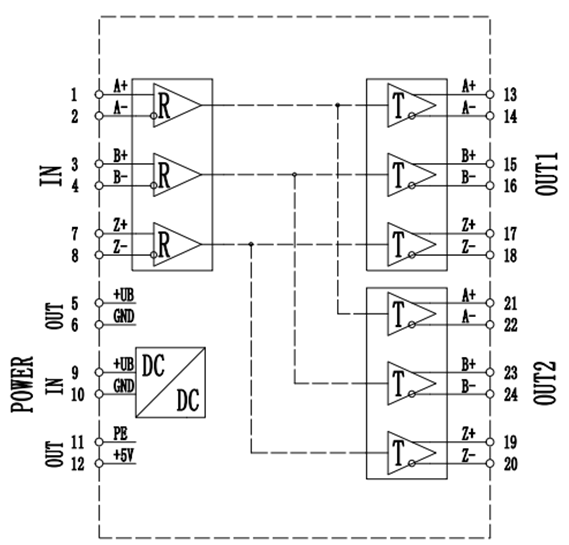
4.功能框图

5.外观尺寸

6.下载链接